FORCE 1991 120 H.P "D" MODEL L-DRIVE
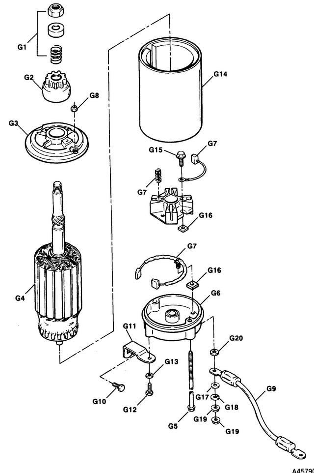
STARTER
STARTER
| № | Артикул | Наименование | Деталей в узле | Комментарий | Цена | |
| - | комплект приводной шестерни | 1 | 7790 руб. | |||
| - | SCREW, 1/4 - 20 X 5/8 | 1 | снято с производства | |||
| - | BRACKET, STARTER MOUNTING - LOWER | 1 | снято с производства | |||
| - | SCREW, 1/4 - 20 X 5/8 | 1 | цена по запросу | |||
| - | шайба | 1 | цена по запросу | |||
| - | STARTER, COMPLETE | 1 | цена по запросу | |||
| - | SCREW, BRUSH HOLDER | 2 | снято с производства | |||
| - | изолятор | 2 | цена по запросу | |||
| - | шайба | 1 | цена по запросу | |||
| - | стопорная шайба | 1 | цена по запросу | |||
| - | гайка | 2 | снято с производства | |||
| - | ведущая шестерня | 1 | цена по запросу | |||
| - | WASHER, INSULATING | 1 | снято с производства | |||
| - | CAP (DRIVE END) | 1 | снято с производства | |||
| - | сердечник | 1 | снято с производства | |||
| - | THRU BOLT PACKAGE | 1 | снято с производства | |||
| - | CAP, CUMMUTATOR END | 1 | цена по запросу | |||
| - | комплект контактной щетки | 1 | 5360 руб. | |||
| - | LOCKNUT | 1 | цена по запросу | |||
| - | WIRE, STARTER | 1 | снято с производства | |||
| - | Art.: комплект приводной шестерни Деталей в узле: 1 - | Art.: F1922 SCREW, 1/4 - 20 X 5/8 Деталей в узле: 1 снято с производства - | Art.: F616675 BRACKET, STARTER MOUNTING - LOWER Деталей в узле: 1 снято с производства - | Art.: SCREW, 1/4 - 20 X 5/8 Деталей в узле: 1 цена по запросу - | Art.: шайба Деталей в узле: 1 цена по запросу - | STARTER, COMPLETE Деталей в узле: 1 цена по запросу - | Art.: F15158 SCREW, BRUSH HOLDER Деталей в узле: 2 снято с производства - | Art.: изолятор Деталей в узле: 2 цена по запросу - | Art.: шайба Деталей в узле: 1 цена по запросу - | Art.: стопорная шайба Деталей в узле: 1 цена по запросу - | Art.: F15162 гайка Деталей в узле: 2 снято с производства - | ведущая шестерня Деталей в узле: 1 |
