35 HP
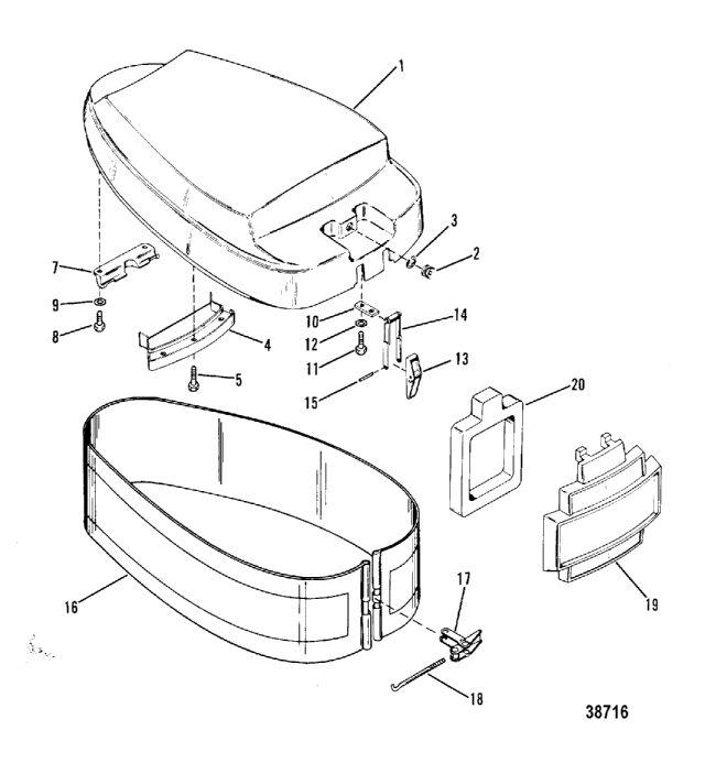
верхняя часть колпака и колпак
верхняя часть колпака и колпак
| № | Артикул | Наименование | Деталей в узле | Комментарий | Цена | |
| 1 | Верхняя часть колпака в сборе | 1 | (ELECTRIC) | снято с производства | ||
| 1 | Верхняя часть колпака в сборе | 1 | (MANUAL) | снято с производства | ||
| 2 | ROPE GUIDE, STARTER ROPE | 1 | снято с производства | |||
| 3 | стопорное кольцо направляющей троса | 1 | снято с производства | |||
| 4 | задняя защита верхней части колпака | 1 | снято с производства | |||
| 5 | SCREW, (#10-16 x .625) Stainless Steel, REAR SHIELD TO TOP COWL | 3 | 200 руб. | |||
| 7 | задний крюк защелки верхней части колпака | 1 | снято с производства | |||
| 8 | SCREW, (.250-28 x .880), REAR HOOK TO TOP COWL | 2 | снято с производства | |||
| 9 | LOCKWASHER, (.250) Stainless Steel, REAR HOOK SCREW | 2 | 90 руб. | |||
| 10 | пластина шарнира | 1 | снято с производства | |||
| 11 | SCREW, (#10-32 x .625), HINGE PLATE | 2 | 230 руб. | |||
| 12 | LOCKWASHER, (#10) Stainless Steel, HINGE PLATE SCREW | 2 | 120 руб. | |||
| 13 | рычаг защелки колпака | 1 | 4380 руб. | |||
| 14 | шарнир рычага защелки колпака | 1 | снято с производства | |||
| 15 | PIN, HINGE TO LEVER | 1 | 700 руб. | |||
| 16 | WRAP AROUND COWL ASSEMBLY (W/O DECALS) | 1 | снято с производства | |||
| 17 | защелка колпакак в сборе | 2 | снято с производства | |||
| 18 | крюк крепления защелки колпака | 2 | снято с производства | |||
| 19 | COVER ASSEMBLY, Cowl - Front (W/O DECALS) | 1 | снято с производства | |||
| 20 | BLANKET, COWL FRONT COVER | 1 | снято с производства | |||
| 1 | Art.: 2138-6341 Верхняя часть колпака в сборе ((ELECTRIC))Деталей в узле: 1 снято с производства 1 | Art.: 2138-6340A2 Верхняя часть колпака в сборе ((MANUAL))Деталей в узле: 1 снято с производства 2 | Art.: 58657 ROPE GUIDE, STARTER ROPE Деталей в узле: 1 снято с производства 3 | Art.: 53-72168 стопорное кольцо направляющей троса Деталей в узле: 1 снято с производства 4 | Art.: 62236 задняя защита верхней части колпака Деталей в узле: 1 снято с производства 5 | Art.: 10-48409 SCREW, (#10-16 x .625) Stainless Steel, REAR SHIELD TO TOP COWL Деталей в узле: 3 7 | Art.: 55455 задний крюк защелки верхней части колпака Деталей в узле: 1 снято с производства 8 | Art.: 10-22956 SCREW, (.250-28 x .880), REAR HOOK TO TOP COWL Деталей в узле: 2 снято с производства 9 | Art.: 13-26992 LOCKWASHER, (.250) Stainless Steel, REAR HOOK SCREW Деталей в узле: 2 10 | Art.: 75973 пластина шарнира Деталей в узле: 1 снято с производства 11 | Art.: 10-32228 SCREW, (#10-32 x .625), HINGE PLATE Деталей в узле: 2 12 | Art.: 13-26996 LOCKWASHER, (#10) Stainless Steel, HINGE PLATE SCREW Деталей в узле: 2 13 | рычаг защелки колпака Деталей в узле: 1 14 | Art.: 52739 шарнир рычага защелки колпака Деталей в узле: 1 снято с производства 15 | Art.: 17-58998 PIN, HINGE TO LEVER Деталей в узле: 1 16 | Art.: 2137-3878A6 WRAP AROUND COWL ASSEMBLY (W/O DECALS) Деталей в узле: 1 снято с производства 17 | Art.: 46785A1 защелка колпакак в сборе Деталей в узле: 2 снято с производства 18 | Art.: 30413 крюк крепления защелки колпака Деталей в узле: 2 снято с производства 19 | Art.: COVER ASSEMBLY, Cowl - Front (W/O DECALS) Деталей в узле: 1 снято с производства 20 | Art.: 76450 BLANKET, COWL FRONT COVER Деталей в узле: 1 снято с производства | |||||||||||||||||||||
